как изготовить колпак?

AVL2007
Интересующийся
Сообщения: 5
Зарегистрирован: 14 сен 2013, 01:08

как изготовить колпак?

Непрочитанное сообщение AVL2007 »

Помогите господа кровельщики изготовить колпак на дымовую трубу размер 400 на 400. Нужна развертка колпака и какая его высота чтобы не было сосулек.
Аватара пользователя
Metallist
Кровельщик
Сообщения: 462
Зарегистрирован: 14 фев 2010, 20:36

Re: как изготовить колпак?

Непрочитанное сообщение Metallist »

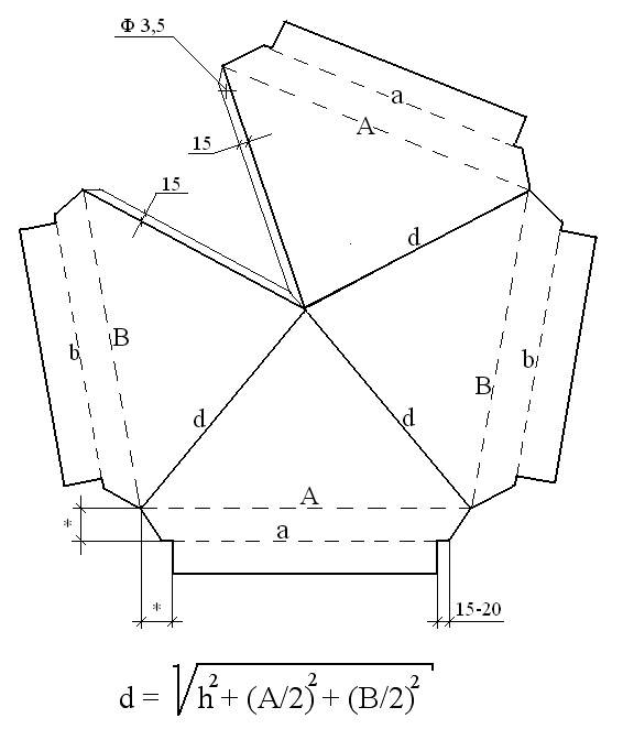
Колпаки бывают разные.
Пример выкройки колпака прилагаю, но это больше подходит для столбов.
Хотя если поставить его на ножки, то можно и дымоход закрыть...
Вложения
vykr-kolpaka.jpg
kolpak_na_stolb.jpg
Аватара пользователя
DoctorS
Консультант
Сообщения: 711
Зарегистрирован: 26 янв 2010, 09:39
Откуда: www.schiefer.ru
Контактная информация:

Re: как изготовить колпак?

Непрочитанное сообщение DoctorS »

Вопрос колпка на дымоход немного уже обсуждался тут.
Если кратко, то для того, чтобы уйти от сосулек, необходимо обеспечить моментальный отвод теплого воздуха из под колпака. Этого можно успешно добиться, если сделать его продуваемым - самый простой вариант - вид двускатной крыши. При этом колпак не обязательно должен быть правильной формы.
Если делать его по примеру, указанному Металлистом, то получение сосулек на выходе гарантировано!

Вот тут есть примеры того, каким он должен быть - http://forum.design-roof.ru/viewtopic.php?f=98&t=607
Фото в сообщении от wolfdemar13
AVL2007
Интересующийся
Сообщения: 5
Зарегистрирован: 14 сен 2013, 01:08

Re: как изготовить колпак?

Непрочитанное сообщение AVL2007 »

Спасибо за ответ. Я так понял четырехскатный колпак не будет хорошо, только двухскатный.
Burbon
Кровельщик
Сообщения: 65
Зарегистрирован: 23 ноя 2011, 15:14

Re: как изготовить колпак?

Непрочитанное сообщение Burbon »

Не правильно поняли. С чего вы решили, что четырёхскатный будет хуже двухскатного? Как раз таки наоборот. Например при двухскатном дымнике в трубу попадает осадки при косом дожде, чего можно меньше ожидать при четырёхскатном. Можно вынос скатов дымника сделать до 20 см. (больше не рекомендуется) и избежать попадание косого дождя в трубу.
Аватара пользователя
DoctorS
Консультант
Сообщения: 711
Зарегистрирован: 26 янв 2010, 09:39
Откуда: www.schiefer.ru
Контактная информация:

Re: как изготовить колпак?

Непрочитанное сообщение DoctorS »

Burbon писал(а):Не правильно поняли. С чего вы решили, что четырёхскатный будет хуже двухскатного? Как раз таки наоборот. Например при двухскатном дымнике в трубу попадает осадки при косом дожде, чего можно меньше ожидать при четырёхскатном. Можно вынос скатов дымника сделать до 20 см. (больше не рекомендуется) и избежать попадание косого дождя в трубу.
Я буду с Вами спорить и настаивать на продуваемом варианте.
В Европе я на дымоходах не встречаются четырехскатные дымники. Все варианты - двухскатные, плоские и без дымника... Как на фото!

В домиках четырехскатных всегда будет конденсат... и сосульки
Вложения
DSC_0040.jpg
DSC_0112.jpg
DSC_0113.jpg
DSC_0120.jpg
DSC_0125.jpg
Сизов
Мастер
Сообщения: 105
Зарегистрирован: 26 июн 2012, 22:13

Re: как изготовить колпак?

Непрочитанное сообщение Сизов »

Burbon писал(а):Не правильно поняли. С чего вы решили, что четырёхскатный будет хуже двухскатного? Как раз таки наоборот. Например при двухскатном дымнике в трубу попадает осадки при косом дожде, чего можно меньше ожидать при четырёхскатном. Можно вынос скатов дымника сделать до 20 см. (больше не рекомендуется) и избежать попадание косого дождя в трубу.
Позволю себе дать небольшой совет - 4-х скатный колпак на трубу никогда не делайте без горизонтального по низу колпака "отражателя" из нержавейки или оцинковки. На "горячих" трубах от конденсата в холодный период зимы в таких колпаках так растут сосульки, что приводит к плачевным последствиям, когда они падают, в виде разбитой черепицы, желобов, а иногда и хуже. Двух-скатный колпак по аэродинамике значительно лучше. Но подход к выбору колпака должен быть индивидуальным для каждой трубы.
Спасибо DoctorS Вы меня немного опередили и я с Вами полностью согласен, т.к. постоянно приходится "лечить" поломанные крыши, снимать ранее установленные колпаки и устанавливать новые свои или переделывать старые.
Burbon
Кровельщик
Сообщения: 65
Зарегистрирован: 23 ноя 2011, 15:14

Re: как изготовить колпак?

Непрочитанное сообщение Burbon »

На печные дымоходы отражатели всегда ставил дымник с отражателем (иногда называют его экраном и т.п.)
Я откровенно говоря мало осведомлён по трубам (строение), но в прошлом году два двускатных дымника заменил на четырёхскатные из-за жалобы клиента, что при дожде вода попадает в трубу, а далее в дом. При чём после установки четырёхскатного дымника со слов клиента проблема исчезла.
Если дадите более исчерпывающий ответ почему двухскатный дымник лучше в эксплуатации, нежели четырёхскатный, то обязательно возьму полученную информацию на вооружение... как говориться век живи - век учись.

P.S. Ни один мой клиент не жаловался на нарастание сосулек на внутренней части дымника. В споре рождается истина, особенно для посетителя форума.
AVL2007
Интересующийся
Сообщения: 5
Зарегистрирован: 14 сен 2013, 01:08

Re: как изготовить колпак?

Непрочитанное сообщение AVL2007 »

делал в первый раз
Вложения
Фото0161.jpg
Фото0160.jpg
выкройка
выкройка
Фото0156.jpg
нижний экран
нижний экран
AVL2007
Интересующийся
Сообщения: 5
Зарегистрирован: 14 сен 2013, 01:08

Re: как изготовить колпак?

Непрочитанное сообщение AVL2007 »

нужно было поля с боку побольше сделать, да ладно вообще ничего не было.
Burbon
Кровельщик
Сообщения: 65
Зарегистрирован: 23 ноя 2011, 15:14

Re: как изготовить колпак?

Непрочитанное сообщение Burbon »

Вам самому нравится?
Вложения
Дымник, фото 1.jpg
Дымник, фото 2.jpg
AVL2007
Интересующийся
Сообщения: 5
Зарегистрирован: 14 сен 2013, 01:08

Re: как изготовить колпак?

Непрочитанное сообщение AVL2007 »

Вобще не очень.Сейчас уже переделывать не буду оставлю до следующего лета, посмотрю как работать будет.У меня в доме зимой на потолке появляются коричневые пятна, вот я нынче утеплил трубу на чердаке и поставил колпак на крышу Буду смотреть поможет или нет. . Второе дно делается вровень с низом козырька? Как крепить козырек к нижней конструкции?
Rengen
Кровельщик
Сообщения: 28
Зарегистрирован: 19 фев 2011, 21:32

Re: как изготовить колпак?

Непрочитанное сообщение Rengen »

AVL2007 писал(а):Вобще не очень.Сейчас уже переделывать не буду оставлю до следующего лета, посмотрю как работать будет.У меня в доме зимой на потолке появляются коричневые пятна, вот я нынче утеплил трубу на чердаке и поставил колпак на крышу Буду смотреть поможет или нет. . Второе дно делается вровень с низом козырька? Как крепить козырек к нижней конструкции?
А Вы кровельщик или это просто хобби такое???
Metallmaster
Интересующийся
Сообщения: 2
Зарегистрирован: 13 апр 2014, 10:28

Re: как изготовить колпак?

Непрочитанное сообщение Metallmaster »

Хотел бы выставить на суд работу по колпаку. Можно судить строго..
Вложения
20131031_100509.jpg
20131031_100520.jpg
20131031_100540.jpg
Аватара пользователя
penetoff
Специалист
Сообщения: 14
Зарегистрирован: 14 май 2014, 06:08
Откуда: Москва

Re: как изготовить колпак?

Непрочитанное сообщение penetoff »

Вся работа довольно аккуратно выглядит.
Ответить

Вернуться в «Дымоходы, вентшахты и колпаки»